X射线如何产生?电磁辐射的能量转换过程
X射线的产生基于高能电子与物质的相互作用。最常见的产生装置是X射线管,由阴极和阳极组成。当阴极被加热时,会释放出电子,这些电子在高压电场中被加速,获得巨大动能后撞击阳极靶材。在撞击过程中,电子的动能会转化为两种形式的辐射:连续辐射和特征辐射。连续辐射源于电子在原子核电场中的减速过程,覆盖广泛的波长范围;而特征辐射则与靶材原子的能级结构相关,产生特定波长的X射线。

除了X射线管,放射性同位素如钴-60或铯-137也能作为X射线源。这些放射性物质衰变时释放高能粒子,与物质相互作用产生X射线。这种产生方式在特定工业应用中具有独特优势,尤其在便携式检测设备中发挥作用。
X射线与物质如何相互作用?穿透机制的核心原理
X射线穿透物体时,会与物质原子发生三种主要相互作用:光电效应、康普顿散射和电子对效应。光电效应主要发生在低能X射线与原子相互作用时,X光子被完全吸收,导致原子内层电子电离。康普顿散射则是中等能量X射线与价电子的相互作用,导致X射线能量减少并改变方向。电子对效应则需要高能X射线(超过1.022MeV),在原子核附近转化为正负电子对。
这些相互作用导致X射线在穿透物质时强度衰减,衰减程度遵循指数规律:I=I?e^(-μx),其中I?是入射强度,I是透射强度,μ是线性衰减系数,x是材料厚度。不同材料因原子序数和密度的差异,对X射线的衰减能力各不相同,这就为区分材料成分提供了物理基础。
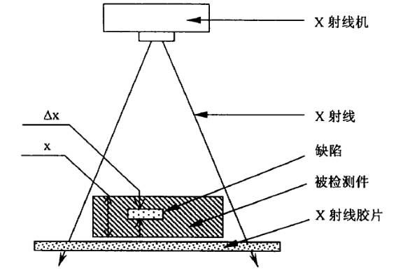
为什么X射线能检测内部缺陷?密度差异的成像机制
当X射线穿透被测物体时,物体内部不同密度区域对射线的吸收程度不同。如果内部存在缺陷如气孔、裂纹或杂质,这些区域的密度与基体材料存在差异,导致X射线在这些位置的穿透率发生变化。探测器接收到的X射线强度分布因此形成了内部结构的"潜像"。
现代X射线检测系统使用数字探测器阵列或影像增强器将这种强度分布转换为可视图像。密度较高的区域(如金属)吸收更多X射线,在图像上显示为较亮部分;而密度较低的区域(如气孔、裂纹)吸收较少X射线,在图像上显示为较暗区域。这种对比度差异使得检测人员能够直观识别缺陷的类型、位置和尺寸。
X射线检测在建筑行业有哪些具体应用?工程质量的无损评估
在建筑工程领域,X射线检测技术具有不可替代的价值。对钢筋混凝土结构,X射线可以检测钢筋配置、保护层厚度以及混凝土内部的空洞、裂缝等缺陷。在钢结构工程中,X射线探伤可以检测焊缝质量,发现未焊透、气孔、夹渣等潜在问题。对于预应力混凝土结构,X射线能够检测预应力孔道压浆的密实度,这对结构安全性至关重要。
与传统破坏性检测方法相比,X射线检测的最大优势在于能够在完全不损伤构件的前提下,实现内部质量的全面评估。特别是在历史建筑保护与加固工程中,X射线检测可以获取原有结构的内部信息,为修复方案提供科学依据。
X射线检测有哪些技术优势?高精度无损检测的独特价值
X射线检测技术的优势体现在多个方面。检测精度极高,能够识别微米级的缺陷;适用材料范围广泛,从金属到非金属材料均可检测;检测结果直观,能够以图像形式直接显示缺陷;对厚度差异敏感,能够精确检测材料厚度的微小变化;检测数据可长期保存,便于质量追溯和分析。
在工业制造领域,X射线检测已成为质量控制的关键环节。据统计,近年来电子行业X-Ray检测设备的市场年增长超过20%,反映了该技术在各行业的重要性日益提升。
X射线检测存在哪些局限性?技术应用的边界与挑战
尽管X射线检测技术具有诸多优势,但也存在一定的局限性。对于与X射线束方向平行的平面状缺陷(如裂纹),检测灵敏度相对较低;设备投资和运营成本较高;存在辐射安全风险,需要严格的防护措施;对操作人员的技术水平要求较高;检测效率相对较低,不适合大规模快速检测场景。
此外,X射线检测对试件的几何形状有一定要求,复杂形状的构件可能会产生图像畸变或遮挡,影响缺陷判断的准确性。
现代X射线检测技术有哪些新发展?数字化与智能化的融合
随着技术进步,X射线检测技术正朝着数字化、自动化和智能化方向发展。计算机断层扫描(CT)技术能够重建物体的三维模型,提供更全面的内部信息。实时成像系统实现了检测过程的动态观察,提高了检测效率。人工智能技术的引入,使缺陷自动识别和分类成为可能,大大减少了人为因素的影响。
在建筑工程领域,移动式X射线检测设备的开发应用,使得现场检测更加灵活便捷。这些设备通常配备完善的辐射防护系统,确保操作人员和周边环境的安全。
如何保证X射线检测的安全?辐射防护的实践要求
X射线检测中的辐射安全是首要考虑因素。根据《工业X射线探伤放射防护要求》(GBZ117-2015),辐射工作场所应划分为控制区和监督区。控制区边界外剂量当量率大于2.5μSv/h的范围应划为监督区,确保辐射剂量控制在安全范围内。
实际操作中,应采取时间防护、距离防护和屏蔽防护的综合措施。检测人员应接受专业培训,熟练掌握设备操作和防护知识,定期进行健康监测和个人剂量监测。
版权声明:本站部分文章来源或改编自互联网及其他公众平台,主要目的在于分享信息,版权归原作者所有,内容仅供读者参考。本站仅提供信息存储空间服务,不拥有所有权,不承担相关法律责任,如有侵权请联系xp0123456789@qq.com删除。


评论